www.ITISkill.com
Home
SY->Module-3 : AC Three Phase Motor - Quiz
Categories
Electrician
SY->Module-3 : AC Three Phase Motor
1) Which schedule of maintenance the resistance of earth connection of an induction motor is to be examined? | ಇಂಡಕ್ಷನ್ ಮೋಟರ್ನ ಭೂಮಿಯ ಸಂಪರ್ಕದ ಪ್ರತಿರೋಧದ ನಿರ್ವಹಣೆಯ ಯಾವ ವೇಳಾಪಟ್ಟಿಯನ್ನು ಪರಿಶೀಲಿಸಬೇಕು?
Weekly | ಸಾಪ್ತಾಹಿಕ
Daily | ಪ್ರತಿದಿನ
Monthly | ಮಾಸಿಕ
Yearly | ವಾರ್ಷಿಕ
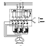
2) What is the name the A.C motor starter as shown in the figure? | ಚಿತ್ರದಲ್ಲಿ ತೋರಿಸಿರುವಂತೆ A.C ಮೋಟಾರ್ ಸ್ಟಾರ್ಟರ್ ಹೆಸರೇನು?
DOL starter | DOL ಸ್ಟಾರ್ಟರ್
Auto transformer starter | ಆಟೋ ಟ್ರಾನ್ಸ್ಫಾರ್ಮರ್ ಸ್ಟಾರ್ಟರ್
Semi automatic star delta starter | ಅರೆ ಸ್ವಯಂಚಾಲಿತ ಸ್ಟಾರ್ ಡೆಲ್ಟಾ ಸ್ಟಾರ್ಟರ್
Fully automatic star delta starter | ಸಂಪೂರ್ಣ ಸ್ವಯಂಚಾಲಿತ ಸ್ಟಾರ್ ಡೆಲ್ಟಾ ಸ್ಟಾರ್ಟರ್
3) Which speed is called as synchronous speed in 3 phase induction motor? | 3 ಹಂತದ ಪ್ರವೇಶ ಮೋಟಾರ್ದಲ್ಲಿ ವೇಗವನ್ನು ಸಿಂಕ್ರೊನಸ್ ವೇಗ ಎಂದು ಕರೆಯುತ್ತಾರೆ?
No load speed | ಲೋಡ್ ವೇಗ ಇಲ್ಲ
Full load speed | ಪೂರ್ಣ ಲೋಡ್ ವೇಗ
Rotating magnetic field speed | ಆಯಸ್ಕಾಂತೀಯ ಕ್ಷೇತ್ರದ ವೇಗವನ್ನು ತಿರುಗಿಸುವುದು
Relative speed between stator and rotor | ಸ್ಟೇಟರ್ ಮತ್ತು ರೋಟರ್ ನಡುವಿನ ಸಾಪೇಕ್ಷ ವೇಗ
4) What is the synchronous speed of an A.C 3 phase induction motor having 6 poles at a frequency of 50 Hertz? | 50 ಹರ್ಟ್ಜ್ ಆವರ್ತನದಲ್ಲಿ 6 ಧ್ರುವಗಳನ್ನು ಹೊಂದಿರುವ A.C 3 ಹಂತದ ಇಂಡಕ್ಷನ್ ಮೋಟಾರ್ನ ಸಿಂಕ್ರೊನಸ್ ವೇಗ ಎಷ್ಟು?
800 rpm
1000 rpm
1200 rpm
1440 rpm
5) Which is the speed of the rotating magnetic field of a 3 phase squirrel cage induction motor? | 3 ಫೇಸ್ ಸ್ಕ್ವಿರಲ್ ಕೇಜ್ ಇಂಡಕ್ಷನ್ ಮೋಟರ್ನ ತಿರುಗುವ ಮ್ಯಾಗ್ನಟಿಕ್ ಕ್ಷೇತ್ರದ ವೇಗ ಯಾವುದು
Rotor speed | ರೋಟರ್ ವೇಗ
Slip speed | ಸ್ಲಿಪ್ ವೇಗ
Actual speed | ವಾಸ್ತವಿಕ ವೇಗ
Synchronous speed | ಸಿಂಕ್ರೊನಸ್ ವೇಗ
Submit Quiz