FY->Module-1 : Safety - Practice Mode

1) Which is a soft skill? | ಯಾವುದು ಸಾಫ್ಟ್ ಸ್ಕಿಲ್ಸ್ ಅಡಿಯಲ್ಲಿ ಬರುತ್ತದೆ?
Correct Answer: Teamwork | ತಂಡದ ಕೆಲಸ
2) What is the name of the angular measuring instrument shown in the figure? | ಚಿತ್ರದಲ್ಲಿ ತೋರಿಸಿರುವ ಕೋನೀಯ ಅಳತೆ (ಆಂಗುಲರ್ ಮೆಷರಿಂಗ್) ಉಪಕರಣದ ಹೆಸರೇನು?
Question Image
Correct Answer: Universal bevel gauge | ಯೂನಿವರ್ಸಲ್ ಬೆವೆಲ್ ಗೇಜ್
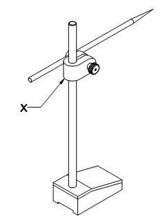
3) What is the name of the part marked as ʹXʹ shown in the figure? | ಈ ಕೆಳಗಿನ ಚಿತ್ರದಲ್ಲಿ ʹXʹ ನಿಂದ ಗುರುತಿಸಲಾದ ಭಾಗದ ಹೆಸರೇನು?
Question Image
Correct Answer: Fulcrum | ಫಲ್ಕ್ರಮ್
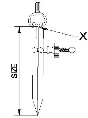
4) What is the name of the part marked as ‘X’ shown in the figure? | ಚಿತ್ರದಲ್ಲಿ ತೋರಿಸಿರುವ ʹXʹ ಎಂದು ಗುರುತಿಸಲಾದ ಭಾಗದ ಹೆಸರೇನು?
Question Image
Correct Answer: Snug | ಸ್ನಗ್
5) What is the name of the part of a hammer marked as ‘X’ shown in the figure? | ‘x’.ನಿಂದ ಗುರುತಿಸಿದ ಸುತ್ತಿಗೆಯ ಭಾಗದ ಹೆಸರೇನು?
Question Image
Correct Answer: Cheek | ಚೀಕ್