www.ITISkill.com
Home
SY->Module-2 : Gauges - Quiz
Categories
Fitter
SY->Module-2 : Gauges
1) Which bearing is used in the limited bearing space? | ಸೀಮಿತ ಬೇರಿಂಗ್ ಜಾಗದಲ್ಲಿ ಯಾವ ಬೇರಿಂಗ್ ಅನ್ನು ಬಳಸಲಾಗುತ್ತದೆ?
Needle bearing | ಸೂಜಿ (ನೀಡಲ್) ಬೇರಿಂಗ್
Thrust ball bearing | ಥ್ರಸ್ಟ್ ಬಾಲ್ ಬೇರಿಂಗ್
Taper roller bearing | ಟಿಪರ್ ರೋಲರ್ ಬೇರಿಂಗ್
Angular contact ball bearing | ಕೋನೀಯ (ಆಂಗುಲಾರ್) ಸಂಪರ್ಕ ಬಾಲ್ ಬೇರಿಂಗ್
2) What is the name of the bearing shown in the figure? | ಚಿತ್ರದಲ್ಲಿ ತೋರಿಸಿರುವ ಬೇರಿಂಗ್ ಹೆಸರೇನು?
Plain bearing | ಪ್ಲೇನ್ ಬೇರಿಂಗ್
Bush bearing | ಬುಷ್ ಬೇರಿಂಗ್
Solid bearing | ಸಾಲಿಡ್ ಬೇರಿಂಗ್
Self aligning bush bearing | ಸ್ವಯಂ ಜೋಡಿಸುವ ಬುಷ್ ಬೇರಿಂಗ್
3) What will be the result if rolling contract bearing is fitted too loose instead of having proper recommended fit? | ರೋಲಿಂಗ್ ಕಾಂಟ್ರಾಕ್ಟ್ ಬೇರಿಂಗ್ ಅನ್ನು ಸರಿಯಾಗಿ ಶಿಫಾರಸು ಮಾಡಲಾದ ಫಿಟ್ ಅನ್ನು ಹೊಂದುವ ಬದಲು ತುಂಬಾ ಸಡಿಲವಾಗಿ ಅಳವಡಿಸಿದರೆ ಫಲಿತಾಂಶವೇನು?
It will not take the load | ಇದು ಹೊರೆಯನ್ನು ತೆಗೆದುಕೊಳ್ಳುವುದಿಲ್ಲ
Heat will be generated | ಶಾಖ ಉತ್ಪತ್ತಿಯಾಗಲಿದೆ
Roller will not have contact with the inner race | ರೋಲರ್ ಇನ್ನರ್ ರೇಸ್ ನೊಂದಿಗೆ ಸಂಪರ್ಕವನ್ನು ಹೊಂದಿರುವುದಿಲ್ಲ
Roller will get jammed with the outer race | ರೋಲರ್ ಔಟರ್ ರೇಸ್ ಜೊತೆಗೆ ಜಾಮ್ ಆಗುತ್ತದೆ
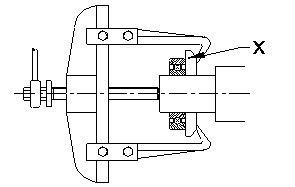
4) What is the name of the part marked as ʹXʹ shown in the figure? | ಚಿತ್ರದಲ್ಲಿ ತೋರಿಸಿರುವ ʹXʹ ಎಂದು ಗುರುತಿಸಲಾದ ಭಾಗದ ಹೆಸರೇನು?
Leg | ಲೆಗ್
Puller | ಪುಲ್ಲರ್
Bearing | ಬೇರಿಂಗ್
Puller plate | ಪುಲ್ಲರ್ ಪ್ಲೇಟ್
5) What is the name of the bearing shown in the figure? | ಚಿತ್ರದಲ್ಲಿ ತೋರಿಸಿರುವ ಬೇರಿಂಗ್ನ ಹೆಸರೇನು?
Needle bearing | ನೀಡಲ್ ಬೇರಿಂಗ್
Thrust ball bearing | ಥ್ರಸ್ಟ್ ಬಾಲ್ ಬೇರಿಂಗ್
Taper roller bearing | ಟೇಪರ್ ರೋಲರ್ ಬೇರಿಂಗ್
Angular contact ball bearing | ಆಂಗುಲರ್ ಕಾಂಟಾಕ್ಟ್ ಬಾಲ್ ಬೇರಿಂಗ್
Submit Quiz