SY->Module-3 : Pipes and Pipe Fittings - Practice Mode

1) What causes water dripping from the tap even after it is closed? | ಟ್ಯಾಪ್ ಮುಚ್ಚಿದ ನಂತರವೂ ನೀರು ತೊಟ್ಟಿಕ್ಕಲು ಕಾರಣವೇನು?
Correct Answer: Defective washer | ದೋಷಯುಕ್ತ ವಾಷರ್
2) What is the name of the pipe fitting shown in the figure? | ಚಿತ್ರದಲ್ಲಿ ತೋರಿಸಿರುವ ಪೈಪ್ ಫಿಟ್ಟಿಂಗ್ ಹೆಸರೇನು?
Question Image
Correct Answer: Plug | ಪ್ಲಗ್
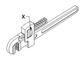
3) What is the name of the part marked as ‘x’ shown in the figure? | ಚಿತ್ರದಲ್ಲಿ ತೋರಿಸಿರುವ ʹxʹ ಎಂದು ಗುರುತಿಸಲಾದ ಭಾಗದ ಹೆಸರೇನು?
Question Image
Correct Answer: Adjusting nut | ಅಡ್ಜಸ್ಟಿಂಗ್ ನಟ್
4) How to arrest the leakage in pipe fitting? | ಪೈಪ್ ಅಳವಡಿಕೆಯಲ್ಲಿ ಸೋರಿಕೆಯನ್ನು ತಡೆಯುವುದು ಹೇಗೆ?
Correct Answer: By hem packing | ಹೆಮ್ ಪ್ಯಾಕಿಂಗ್ ಮಾಡುವುದರಿಂದ
5) What causes a loud noise if a household water tap is turned on? | ಮನೆಯ ನೀರಿನ ಟ್ಯಾಪ್ ಆನ್ ಮಾಡಿದರೆ ದೊಡ್ಡ ಶಬ್ದಕ್ಕೆ ಕಾರಣವೇನು?
Correct Answer: Washer loose in the valve | ಕವಾಟದ (ವಾಲ್ವ್) ಮೇಲೆ ವಾಷರ್ ಸಡಿಲವಾಗಿದೆ