www.ITISkill.com
Home
SY->Module-3 : Pipes and Pipe Fittings - Quiz
Categories
Fitter
SY->Module-3 : Pipes and Pipe Fittings
1) How pipes are classified? | ಪೈಪ್ಗಳನ್ನು ಹೇಗೆ ವರ್ಗೀಕರಿಸಲಾಗಿದೆ?
Uses | ಉಪಯೋಗಗಳು
Colour | ಬಣ್ಣ
Shapes | ಆಕಾರಗಳು
Material | ವಸ್ತು
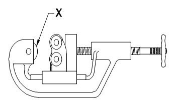
2) What is the name of the part marked as ʹxʹ shown in the figure? | ಚಿತ್ರದಲ್ಲಿ ತೋರಿಸಿರುವ ʹxʹ ಎಂದು ಗುರುತಿಸಲಾದ ಭಾಗದ ಹೆಸರೇನು?
Cutter wheel | ಕಟ್ಟರ್ ವೀಲ್
Adjusting screw | ಅಡ್ಜಸ್ಟಿಂಗ್ ಸ್ಕ್ರೂ
Guide rollers | ಗೈಡ್ ರೋಲರುಗಳು
Hand lever | ಹ್ಯಾಂಡ್ ಲಿವರ್
3) Which wrench is used for tightening more than 50 mm diameter of pipe? | 50 ಎಂಎಂ ವ್ಯಾಸಕ್ಕಿಂತ (ಡಯಾಮೀಟರ್) ಹೆಚ್ಚಿನ ಪೈಪ್ ಅನ್ನು ಬಿಗಿಗೊಳಿಸಲು ಯಾವ ವ್ರೆಂಚ್ ಅನ್ನು ಬಳಸಲಾಗುತ್ತದೆ?
Strap wrench | ಸ್ಟ್ರ್ಯಾಪ್ ವ್ರೆಂಚ್
Foot print wrench | ಫುಟ್ ಪ್ರಿಂಟ್ ವ್ರೆಂಚ್
Chain pipe wrench | ಚೈನ್ ಪೈಪ್ ವ್ರೆಂಚ್
Stilson pipe wrench | ಸ್ಟಿಲೆಸನ್ ಪೈಪ್ ವ್ರೆಂಚ್
4) What is the angle of deviations provided on elbows and bends in pipe works? | ಪೈಪ್ ಕೆಲಸಗಳಲ್ಲಿ ಮೊಣಕೈಗಳು ಮತ್ತು ಬಾಗುವಿಕೆಗಳ ಮೇಲೆ ಒದಗಿಸಲಾದ ವಿಚಲನದ ಕೋನ ಯಾವುದು?
90° & 45°
30° & 60°
20° & 40°
60° & 45°
5) What is the name of the pipe fitting item shown in the figure? | ಚಿತ್ರದಲ್ಲಿ ತೋರಿಸಿರುವ ಪೈಪ್ ಫಿಟ್ಟಿಂಗ್ ಐಟಂನ ಹೆಸರೇನು?
Close nipple | ಕ್ಲೋಸ್ ನಿಪ್ಪಲ್
Short nipple | ಶಾರ್ಟ್ ನಿಪ್ಪಲ್
Long nipple | ಲಾಂಗ್ ನಿಪ್ಪಲ್
Connector | ಕನೆಕ್ಟರ್
Submit Quiz