SY->Module-6 : Hydraulics and Pneumatics - Practice Mode

1) Which valve permits fluid flow in one direction and block flow in opposite direction? | ಯಾವ ವಾಲ್ವ್ ಒಂದು ದಿಕ್ಕಿನಲ್ಲಿ ದ್ರವದ ಹರಿವನ್ನು ಅನುಮತಿಸುತ್ತದೆ ಮತ್ತು ವಿರುದ್ಧ ದಿಕ್ಕಿನಲ್ಲಿ ಹರಿವನ್ನು ನಿರ್ಬಂಧಿಸುತ್ತದೆ?
Correct Answer: Check valve | ಚೆಕ್ ವಾಲ್ವ್
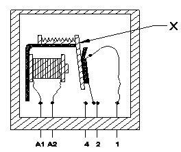
2) What is the name of the part marked as ‘x’ shown in the figure? | ಚಿತ್ರದಲ್ಲಿ ತೋರಿಸಿರುವ ʹxʹ ಎಂದು ಗುರುತಿಸಲಾದ ಭಾಗದ ಹೆಸರೇನು?
Question Image
Correct Answer: Stop plug | ಸ್ಟಾಪ್ ಪ್ಲಗ್
3) What is the name of the valve symbol shown in the figure? | ಚಿತ್ರದಲ್ಲಿ ತೋರಿಸಿರುವ ವಾಲ್ವ್ ಚಿಹ್ನೆಯ ಹೆಸರೇನು?
Question Image
Correct Answer: 3/2 way valve | 3/2 ವೇ ಕವಾಟ(ವಾಲ್ವ್)
4) How to reduce the air flow from the sketch shown in the figure? | ಚಿತ್ರದಲ್ಲಿ ತೋರಿಸಿರುವ ಸ್ಕೆಚ್ನಿಂದ ಗಾಳಿಯ ಹರಿವನ್ನು ಕಡಿಮೆ ಮಾಡುವುದು ಹೇಗೆ?
Question Image
Correct Answer: Less opening of needle | ಸೂಜಿಯ ಕಡಿಮೆ ತೆರೆಯುವಿಕೆ
5) What is the name of the part marked as ʹxʹ shown in the figure? | ಚಿತ್ರದಲ್ಲಿ ತೋರಿಸಿರುವ ʹxʹ ಎಂದು ಗುರುತಿಸಲಾದ ಭಾಗದ ಹೆಸರೇನು?
Question Image
Correct Answer: Armature | ಆರ್ಮೇಚರ್