www.ITISkill.com
Home
SY->Module-8 : Erection and Testing - Quiz
Categories
Fitter
SY->Module-8 : Erection and Testing
1) Why packers are placed between lifting load and wire rope sling? | ಎತ್ತುವ ಹೊರೆ ಮತ್ತು ತಂತಿ ಹಗ್ಗ ಸ್ಲಿಂಗ್ ನಡುವೆ ಪ್ಯಾಕರ್ಗಳನ್ನು ಏಕೆ ಇರಿಸಲಾಗುತ್ತದೆ?
Lifting load will not be damage | ಎತ್ತುವ ಲೋಡ್ ಹಾನಿಯಾಗುವುದಿಲ್ಲ
Lifting load will be in the center | ಎತ್ತುವ ಲೋಡ್ ಮದ್ಯದಲ್ಲಿರುತ್ತದೆ
To maintain the centre of gravity | ಗುರುತ್ವಾಕರ್ಷಣೆಯ ಕೇಂದ್ರವನ್ನು ನಿರ್ವಹಿಸಲು
To protect the sling at the edges of the load | ಲೋಡ್ನ ಅಂಚುಗಳಲ್ಲಿ ಜೋಲಿಯನ್ನು(ಸ್ಲಿಂಗ್) ರಕ್ಷಿಸಲು
2) What is the purpose of foundation bolts in machine errection? | ಯಂತ್ರದ ನಿರ್ಮಾಣದಲ್ಲಿ ಅಡಿಪಾಯ ಬೋಲ್ಟ್ಗಳ ಉದ್ದೇಶವೇನು?
For better performance | ಉತ್ತಮ ಪ್ರದರ್ಶನಕ್ಕಾಗಿ
To hold the machine firmly | ಯಂತ್ರವನ್ನು ಗಟ್ಟಿಯಾಗಿ ಹಿಡಿದುಕೊಳ್ಳಲು
To improve the machine life | ಯಂತ್ರದ ಜೀವನವನ್ನು ಸುಧಾರಿಸಲು
To increase the productivity | ಉತ್ಪಾದಕತೆಯನ್ನು ಹೆಚ್ಚಿಸಲು
3) What is the name of the part marked as ʹXʹ shown in the figure? | ಚಿತ್ರದಲ್ಲಿ ತೋರಿಸಿರುವ ʹXʹ ಎಂದು ಗುರುತಿಸಲಾದ ಭಾಗದ ಹೆಸರೇನು?
Master link | ಮಾಸ್ಟರ್ ಲಿಂಕ್
Intermediate link | ಮಧ್ಯಂತರ ಲಿಂಕ್
Joining link | ಜಾಯ್ನಿಂಗ್ ಲಿಂಕ್
Chain | ಚೈನ್
4) Why lifting pockets are provided with equipment? | ಎತ್ತುವ ಪಾಕೆಟ್ಗಳಿಗೆ ಉಪಕರಣಗಳನ್ನು ಏಕೆ ಒದಗಿಸಲಾಗಿದೆ?
Place the steel wedge | ಸ್ಟೀಲ್ ವೇಡ್ಜ್ ಇರಿಸಲು
Provision for bolt and nut | ಬೋಲ್ಟ್ ಮತ್ತು ನಟ್ ಅನ್ನು ಒದಗಿಸುವುದು
Place the crowbar for lifting | ಎತ್ತಲು ಕ್ರೌಬಾರ್ ಅನ್ನು ಇರಿಸಿ
Position the roller for moving | ಚಲಿಸಲು ರೋಲರ್ ಅನ್ನು ಇರಿಸಿ
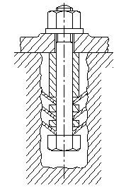
5) What is the name of the foundation bolt shown in the figure? | ಚಿತ್ರದಲ್ಲಿ ತೋರಿಸಿರುವ ಫೌಂಡೇಶನ್ ಬೋಲ್ಟ್ನ ಹೆಸರೇನು?
Eye bolt | ಕಣ್ಣಿನ ಬೋಲ್ಟ್
Bent bolt | ಬಾಗಿದ ಬೋಲ್ಟ್
Rawl bolt | ರಾಲ್ ಬೋಲ್ಟ್
Conical washer foundation bolt | ಕೊನಿಕಲ್ ವಾಷರ್ ಫೌಂಡೇಶನ್ ಬೋಲ್ಟ್
Submit Quiz