www.ITISkill.com
Home
FY->Module-2 : Basic Fitting - Quiz
Categories
Fitter
FY->Module-2 : Basic Fitting
1) Which is an integral part of the stock in vernier bevel protractor? | ವೆರ್ನಿಯರ್ ಬೆವೆಲ್ ಪ್ರೊಟ್ರಾಕ್ಟರ್ನಲ್ಲಿ ಸ್ಟಾಕ್ನ ಅವಿಭಾಜ್ಯ ಭಾಗ ಯಾವುದು?
Disc | ಡಿಸ್ಕ್
Dial | ಡಯಲ್
Blade | ಬ್ಲೇಡ್
Main scale | ಮೇನ್ ಸ್ಕೇಲ್
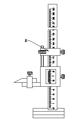
2) What is the name of the part marked as ‘X’ shown in the figure? | ಚಿತ್ರದಲ್ಲಿ ತೋರಿಸಿರುವ ʹXʹ ಎಂದು ಗುರುತಿಸಲಾದ ಭಾಗದ ಹೆಸರೇನು?
Beam | ಬೀಮ್
Main scale | ಮೇನ್ ಸ್ಕೇಲ್
Fine adjusting nut | ಫೈನ್ ಅಡ್ಜಸ್ಟಮೆಂಟ್ ನಟ್
Fine adjusting slide | ಫೈನ್ ಅಡ್ಜಸ್ಡಿಂಗ್ ಸ್ಲೈಡ್
3) What type of operation is carried out in a gang drilling machine? | ಗ್ಯಾಂಗ್ ಡ್ರಿಲ್ಲಿಂಗ್ ಯಂತ್ರದಲ್ಲಿ ಯಾವ ರೀತಿಯ ಕಾರ್ಯಾಚರಣೆಯನ್ನು ನಡೆಸಲಾಗುತ್ತದೆ?
Idle operation | ನಿಷ್ಕ್ರಿಯ ಕಾರ್ಯಾಚರಣೆ
Repeated operation of drilling | ಡ್ರಿಲ್ಲಿಂಗ್ ಪುನರಾವರ್ತಿತ ಕಾರ್ಯಾಚರಣೆ
Continuous milling operation | ನಿರಂತರ ಮಿಲ್ಲಿಂಗ್ ಕಾರ್ಯ
Successive operation of drilling | ಅನುಕ್ರಮದ ಡ್ರಿಲ್ಲಿಂಗ್ ಕಾರ್ಯ
4) What is the drill size for tapping M10X1.5 mm? | M10X1.5 mm ಅನ್ನು ಟ್ಯಾಪ್ ಮಾಡಲು ಡ್ರಿಲ್ ಗಾತ್ರ (ಸೈಜ್ )ಎಷ್ಟು?
9 mm
8.8 mm
8.5 mm
9.2 mm
5) What is the name of the part marked as ʹXʹ in vernier caliper shown in the figure? | ಚಿತ್ರದಲ್ಲಿ ತೋರಿಸಿರುವ ವರ್ನಿಯರ್ ಕ್ಯಾಲಿಪರ್ನಲ್ಲಿ ʹXʹ ಎಂದು ಗುರುತಿಸಲಾದ ಭಾಗದ ಹೆಸರೇನು?
Beam | ಬೀಮ್
Fixed jaw | ಪಿಕ್ಷಡ್ ಜಾ
Depth bar | ಡೆಪ್ತ್ ಬಾರ್
Thumb lever | ಥಂಬ್ ಲಿವರ್
Submit Quiz