FY->Module-3 : Sheet Metal - Practice Mode

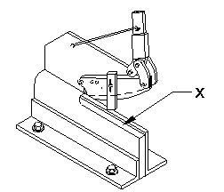
1) What is the name of the part marked as ‘X’ shown in the figure? | ಚಿತ್ರದಲ್ಲಿ ತೋರಿಸಿರುವ ʹXʹ ಎಂದು ಗುರುತಿಸಲಾದ ಭಾಗದ ಹೆಸರೇನು?
Question Image
Correct Answer: Lower blade | ಲೋವರ್ ಬ್ಲೇಡ್
2) What is the name of the tool that is used to make fluid tight joint in riveting? | ರಿವರ್ಟಿಂಗ್ನಲ್ಲಿ ಫ್ಲೂಯಿಡ್ ಟೈಟ್ ಜಾಯಿಂಟ್ ಮಾಡಲು ಬಳಸುವ ಉಪಕರಣದ ಹೆಸರೇನು?
Correct Answer: Fullering tool | ಫುಲ್ಲರಿಂಗ್ ಉಪಕರಣ
3) Why acid tanks are made of lead sheets? | ಆಸಿಡ್ ಟ್ಯಾಂಕ್ ಗಳನ್ನು ಲೆಡ್ ಶೀಟ್ ಗಳಿಂದ ಏಕೆ ತಯಾರಿಸಲಾಗುತ್ತದೆ?
Correct Answer: To protect against corrosive | ನಾಶಕಾರಿ ವಿರುದ್ಧ ರಕ್ಷಿಸಲು
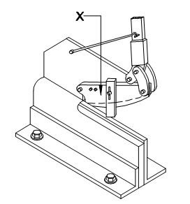
4) What is the name of the part marked as ‘X’ shown in the figure? | ಚಿತ್ರದಲ್ಲಿ ತೋರಿಸಿರುವ ʹXʹ ಎಂದು ಗುರುತಿಸಲಾದ ಭಾಗದ ಹೆಸರೇನು?
Question Image
Correct Answer: Upper blade | ಅಪ್ಪರ್ ಬ್ಲೇಡ್
5) Which sheet metal is easier to joint using soldering? | ಬೆಸುಗೆ ಹಾಕುವಿಕೆಯನ್ನು (ಸಾಲ್ಡರಿಂಗ್) ಬಳಸಿಕೊಂಡು ಜೋಡಿಸಲು ಯಾವ ಶೀಟ್ ಮೆಟಲ್ ಸುಲಭವಾಗಿದೆ?
Correct Answer: Tinned plate | ಟಿನ್ಡ್ ಪ್ಲೇಟ್