www.ITISkill.com
Home
FY->Module-5 : Drilling - Quiz
Categories
Fitter
FY->Module-5 : Drilling
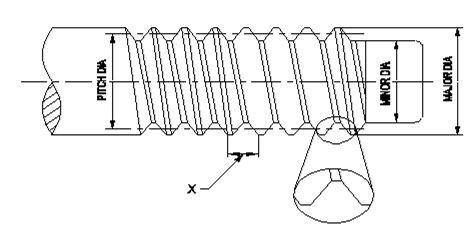
1) What is the name of the element marked as ‘X’ shown in the figure? | ಚಿತ್ರದಲ್ಲಿ ತೋರಿಸಿರುವ ʹXʹ ಎಂದು ಗುರುತಿಸಲಾದ ಅಂಶದ ಹೆಸರೇನು?
Root | ರೂಟ್
Lead | ಲೀಡ್
Pitch | ಪಿಚ್
Flank | ಫ್ಲಾಂಕ್
2) What is the name of the die that has a slot cut to permit slight variation in size? | ಗಾತ್ರದಲ್ಲಿ ಸ್ವಲ್ಪ ವ್ಯತ್ಯಾಸವನ್ನು ಅನುಮತಿಸಲು ಸ್ಲಾಟ್ ಕಟ್ ಹೊಂದಿರುವ ಡೈ ಹೆಸರೇನು?
Die nut | ಡೈ ನಟ್
Circular split die | ವೃತ್ತಾಕಾರದ ಸ್ಪ್ಲಿಟ್ ಡೈ
Half die | ಅರ್ಧ ಡೈ
Adjustable screw plate die | ಅಡ್ಜಸ್ಟಬಲ್ ಸ್ಕ್ರೂ ಪ್ಲೇಟ್ ಡೈ
3) Which limit gauge is used to check the outside diameter of workpieces? | ವರ್ಕ್ಪೀಸ್ಗಳ ಹೊರಗಿನ ವ್ಯಾಸವನ್ನು ಪರೀಕ್ಷಿಸಲು ಯಾವ ಲಿಮಿಟ್ ಗೇಜ್ ಅನ್ನು ಬಳಸಲಾಗುತ್ತದೆ?
Plug gauge | ಪ್ಲಗ್ ಗೇಜ್
Progressive plug gauge | ಪ್ರೋಗ್ರೆಸ್ಸಿವ್ ಪ್ಲಗ್ ಗೇಜ್
Taper plug gauge | ಟೇಪರ್ ಪ್ಲಗ್ ಗೇಜ್
Plain ring gauge | ಪ್ಲೈನ್ ರಿಂಗ್ ಗೇಜ್
4) Which machine uses star wheel dressers for dressing the grinding wheel? | ಯಾವ ಯಂತ್ರಕ್ಕೆ ಗ್ರೈಂಡಿಂಗ್ ವೀಲ್ ಅನ್ನು ಡ್ರೆಸ್ಸಿಂಗ್ ಮಾಡಲು ಸ್ಟಾರ್ ವೀಲ್ ಡ್ರೆಸ್ಸರ್ ಅನ್ನು ಬಳಸಲಾಗಿದೆ?
Cylindrical grinder | ಸಿಲಿಂಡ್ರಿಕಲ್ ಗ್ರೈಂಡರ್
Surface grinder | ಸರ್ಫೇಸ್ ಗ್ರೈಂಡರ್
Pedestal grinder | ಪೆಡೆಸ್ಟಾಲ್ ಗ್ರೈಂಡರ್
Centreless grinder | ಸೆಂಟರ್ ಲೆಸ್ ಗ್ರೈಂಡರ್
5) What is the advantage of mass production? | ಮಾಸ್ ಪ್ರೊಡಕ್ಷನಿನ ಪ್ರಯೋಜನವೇನು?
Initial expenditure is high | ಆರಂಭಿಕ ಖರ್ಚು ಕಡಿಮೆ
Gauges are used | ಮಾಪಕಗಳನ್ನು ಬಳಸಲಾಗುತ್ತದೆ
Jig and fixtures | ಜಿಗ್ ಮತ್ತು ಫಿಕ್ಚರ್
Spare parts can be quickly made available | ಬಿಡಿ ಭಾಗಗಳನ್ನು ತ್ವರಿತವಾಗಿ ಲಭ್ಯವಾಗುವಂತೆ ಮಾಡಬಹುದು
Submit Quiz