www.ITISkill.com
Home
FY->Module-7 : Turning - Quiz
Categories
Fitter
FY->Module-7 : Turning
1) What happens if the carriage is not locked while facing? | ಫೇಸಿಂಗ್ನಲ್ಲಿ ಕ್ಯಾರೇಜನ್ನು ಲಾಕ್ ಮಾಡದಿದ್ದರೆ ಏನಾಗುತ್ತದೆ?
Correct face | ಕರೆಕ್ಟ್ ಫೇಸ್
Convex face | ಕಾನ್ವೆಕ್ಸ್ ಫೇಸ್
Concave face | ಕಾನ್ಕೇವ್ ಫೇಸ್
Pip left in the centre | ಸೆಂಟರ್ನಲ್ಲಿ ಪಿಪ್ ಉಳಿಯುವುದು
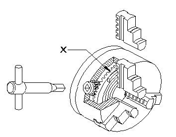
2) What is the name of the part marked as ‘x’ shown in the figure? | ಚಿತ್ರದಲ್ಲಿ ತೋರಿಸಿರುವ ʹxʹ ಎಂದು ಗುರುತಿಸಲಾದ ಭಾಗದ ಹೆಸರೇನು?
Body | ಬಾಡಿ
Back plate | ಬ್ಯಾಕ ಪ್ಲೇಟ್
External jaw | ಎಕ್ಸಟ್ರನಲ್ ಜಾ
Crown wheel | ಕ್ರೌನ್ ವಿಲ್
3) What is the name of the operation shown in the figure? | ಚಿತ್ರದಲ್ಲಿ ತೋರಿಸಿರುವ ಕಾರ್ಯಾಚರಣೆಯ (ಆಪರೇಶನ್) ಹೆಸರೇನು?
Square shoulder | ಸ್ಕ್ವೇರ್ ಶೋಲ್ಡರ್
Filleted shoulder | ಬೆವೆಲ್ಡ್ ಶೋಲ್ಡರ್
Bevelled shoulder | ಬೆವೆಲ್ಡ್ ಶೋಲ್ಡರ್
Undercut shoulder | ಅಂಡರ್ಕಟ್ ಶೋಲ್ಡರ್
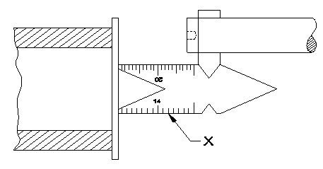
4) What is the name of the gauge marked as ʹxʹ shown in the figure? | ಚಿತ್ರದಲ್ಲಿ ತೋರಿಸಿರುವ ʹxʹ ಎಂದು ಗುರುತಿಸಲಾದ ಗೇಜ್ನ ಹೆಸರೇನು?
Feeler gauge | ಫೀಲರ್ ಗೇಜ್
Centre gauge | ಸೆಂಟರ್ ಗೇಜ್
Screw pitch gauge | ಸ್ಕ್ರೂ ಪಿಚ್ ಗೇಜ್
Standard wire gauge | ಸ್ಟ್ಯಾಂಡರ್ಡ್ ವೈರ್ ಗೇಜ್
5) What happens if the tool is not set to the correct centre height while facing? | ಫೇಸಿಂಗ್ ಮಾಡುವಾಗ ಟೂಲನ್ನು ಸರಿಯಾದ ಮಧ್ಯದ ಎತ್ತರಕ್ಕೆ ಹೊಂದಿಸದಿದ್ದರೆ ಏನಾಗುತ್ತದೆ?
Convex face | ಕಾನ್ವೆಕ್ಸ್ ಫೇಸ್
Concave face | ಕಾನ್ಕೇವ್ ಫೇಸ್
Pip left in the centre | ಸೆಂಟರ್ನಲ್ಲಿ ಪಿಪ್ ಉಳಿಯುವುದು
Rough surface on the face | ಫೇಸ್ನಲ್ಲಿ ಒರಟು ಫಿನಿಷ್ ಬರುವುದು
Submit Quiz