SY->Module-1 : Assembly - 1 - Practice Mode

1) Which type of abrasive is used in honing cast iron and non-ferrous materials? | ಕಾಸ್ಟ್ ಐರನ್ ಮತ್ತು ನಾನ್-ಫೆರಸ್ ವಸ್ತುಗಳನ್ನು ಹೊನಿಂಗ್ ಮಾಡಲು ಯಾವ ರೀತಿಯ ಅಬ್ರಸ್ಸಿವನ್ನು ಬಳಸಲಾಗುತ್ತದೆ?
Correct Answer: Silicon carbide | ಸಿಲಿಕಾನ್ ಕಾರ್ಬೈಡ್
2) Which grade of slip gauge is used for inspection? | ತಪಾಸಣೆಗಾಗಿ ಯಾವ ದರ್ಜೆಯ ಸ್ಲಿಪ್ ಗೇಜ್ ಅನ್ನು ಬಳಸಲಾಗುತ್ತದೆ?
Correct Answer: Grade ‘0’ accuracy | ಗ್ರೇಡ್ ‘0’ ನಿಖರತೆ (ಅಕ್ಯುರೆಸಿ)
3) Which material protects slip gauge from rusting? | ಯಾವ ವಸ್ತುವು ಸ್ಲಿಪ್ ಗೇಜ್ ಅನ್ನು ತುಕ್ಕು ಹಿಡಿಯದಂತೆ ರಕ್ಷಿಸುತ್ತದೆ?
Correct Answer: Petroleum jelly | ಪೆಟ್ರೋಲಿಯಂ ಜೆಲ್ಲಿ
4) What is the name of the operation that corrects the profiles of cylindrical surfaces and removes taper? | ಸಿಲಿಂಡರಾಕಾರದ ಸರ್ಫೆಸ್ ಪ್ರೊಫೈಲ್ಗಳನ್ನು ಸರಿಪಡಿಸುವ ಮತ್ತು ಟೇಪರ್ ಅನ್ನು ತೆಗೆದುಹಾಕುವ ಕಾರ್ಯಾಚರಣೆಯ ಹೆಸರೇನು?
Correct Answer: Honing | ಹೋನಿಂಗ್
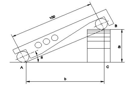
5) What is the height of slip gauge (q = 25° = 0.4226)? | ಸ್ಲಿಪ್ ಗೇಜ್‌ನ ಎತ್ತರ ಎಷ್ಟು (q = 25° = 0.4226)?
Question Image
Correct Answer: 42.26