SY->Module-1 : Assembly - 1 - Practice Mode

1) What is the name of the slip gauge grade used for inspection? | ತಪಾಸಣೆಗೆ ಬಳಸುವ ಸ್ಲಿಪ್ ಗೇಜ್ ದರ್ಜೆಯ ಹೆಸರೇನು?
Correct Answer: Grade ʹ0ʹ | ಗ್ರೇಡ್ ʺ0ʺ
2) What is the purpose of drilled holes in sine bar? | ಸೈನ್ ಬಾರ್‌ನಲ್ಲಿ ಹೋಲ್ಗಳನ್ನು ಕೊರೆಯುವುದರ ಉದ್ದೇಶವೇನು?
Correct Answer: To reduce the weight | ಆಂಗಲ್ ಪ್ಲೇಟ್‌ನಲ್ಲಿ ಸೈನ್ ಬಾರ್‌ನ ಕ್ಲ್ಯಾಂಪ್ ಮಾಡಲು
3) What is the name of the operation shown in the figure? | ಚಿತ್ರದಲ್ಲಿ ತೋರಿಸಿರುವ ಕಾರ್ಯಾಚರಣೆಯ (ಆಪರೇಷನ್) ಹೆಸರೇನು?
Question Image
Correct Answer: Lapping large diameter | ದೊಡ್ಡ ವ್ಯಾಸವನ್ನು (ಡಯಾಮೀಟರ್) ಲ್ಯಾಪ್ ಮಾಡಲು
4) What is the specification of sine bar? | ಸೈನ್ ಬಾರ್‌ನ ನಿರ್ದಿಷ್ಟತೆ (ಸ್ಪೆಸಿಫಿಕೇಷನ್) ಏನು?
Correct Answer: Distance between centre points of the rollers | ರೋಲರ್ಗಳ ಕೇಂದ್ರಬಿಂದುವಿನ ನಡುವಿನ ಅಂತರ
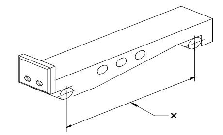
5) What is marked as ‘X’ shown in the figure? | ಚಿತ್ರದಲ್ಲಿ ತೋರಿಸಿರುವ ʹXʹ ಎಂದು ಗುರುತಿಸಲಾದ ಭಾಗದ ಹೆಸರೇನು?
Question Image
Correct Answer: Length of sine bar | ಸೈನ್ ಬಾರ್‌ನ ಉದ್ದ